新聞中心

金諾公司再獲一項國家發明專利授權

發布日期:2022-06-21 09:19:00     來源:濟南城市建設集團


  近日,由濟南金諾公路工程監理有限公司組織研發的“無縫式橋面伸縮縫裝置及其施工方法”研究成果正式獲得國家發明專利授權(專利號:ZL 202110435331.8),這是繼金諾公司被認定為高新技術企業、市級“專精特新”中小企業、山東省科技型中小企業、山東省“專精特新”中小企業之后取得的又一重量級科研成果。
  
  
  
  
  
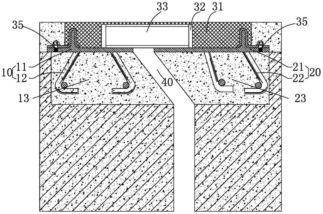
  本發明專利用于解決現有的伸縮縫裝置結構復雜、剛性不足、柔性不足等問題。該裝置安裝在兩個橋面之間,包括安裝一部、安裝二部和設置在兩部之間的半剛性連接件,半剛性連接件整體為橡膠材質的彈性體,在該彈性體內部設置有若干沿順橋向設置的空腔,且在該空腔內設置非粘合的抗彎部件,且抗彎部件在該空腔內具有滑動空間;該抗彎部件在伸縮方向和長度方向上具有足夠高的剛度,使得車輛通過該彈性體時具有極高的抗壓剛度。該裝置可以全面覆蓋伸縮縫位置,具有使用壽命長、免清潔、免維護的特點。
  
  該項發明專利的授權,進一步堅定了金諾公司持續走創新驅動之路,進一步堅定了創建“平安百年品質工程”的信心。下一步,金諾公司將繼續依托企業科協和山東綠色道路技術與材料研究中心,持續加大創新投入,加強科研人員的培養與儲備,發揮企業科協三大研究中心和各專業委員會優勢,繼續積極探索行業前沿領域,加強科技創新,提高創新管理水平,提升公司核心競爭力,推動公司高質量快速發展。